Shovelhead Modifications
Moderator: Gerry
Shovelhead Modifications
Hallo zusammen,
hat schon mal jemand die Shovelhead Modifications von der Nightrider Seite getestet?
Meine ganze Kiste ist momentan komplett zerlegt. Ich bin drauf und drann das ganze Paket was da beschrieben ist durch zu ziehen. Also Kolben, Zylinder, Köpfe. Nocke, Vergaser Zündung und Auspuff hab ich schon gemacht.
Aber jetzt geht es mit der Überarbeitung des Brennraums ans Eingemachte.
Da wären Erfahrungen über Haltbarkeit oder was das bringt hilfreich. Ich übertrage gerade die Maße in ein CADprogramm wenn da alle Toleranzen o.k. sind dann gehts zur Fräse...
Gruß Schribi
P.s.: Nach der Bearbeitung der Kolben haben die an der Oberseite nur noch 3mm Wandstärke an der dünnsten Stelle. Das macht mir am meisten Sorgen
hat schon mal jemand die Shovelhead Modifications von der Nightrider Seite getestet?
Meine ganze Kiste ist momentan komplett zerlegt. Ich bin drauf und drann das ganze Paket was da beschrieben ist durch zu ziehen. Also Kolben, Zylinder, Köpfe. Nocke, Vergaser Zündung und Auspuff hab ich schon gemacht.
Aber jetzt geht es mit der Überarbeitung des Brennraums ans Eingemachte.
Da wären Erfahrungen über Haltbarkeit oder was das bringt hilfreich. Ich übertrage gerade die Maße in ein CADprogramm wenn da alle Toleranzen o.k. sind dann gehts zur Fräse...
Gruß Schribi
P.s.: Nach der Bearbeitung der Kolben haben die an der Oberseite nur noch 3mm Wandstärke an der dünnsten Stelle. Das macht mir am meisten Sorgen
Re: Shovelhead Modifications
... wo find ich die Nightrider seite... und gehört das nicht ins Technik forum?
Grüsse Rüdi
Grüsse Rüdi
Re: Shovelhead Modifications
www.nightrider.com dann Motorcycle Performance Guide und dann auf Shovelhead Modifications
Du hast recht das gehört ins Technik Forum kann ich das noch verschieben??
Du hast recht das gehört ins Technik Forum kann ich das noch verschieben??
Re: Shovelhead Modifications
Moin,
ist verschoben.
Gruß,
Gerry
ist verschoben.
Gruß,
Gerry
Shovel-Head.com - Teileshop:
https://www.kraftradteile.com
Gerry's BAKERy:
https://www.bakergetriebe.de
https://www.kraftradteile.com
Gerry's BAKERy:
https://www.bakergetriebe.de
Re: Shovelhead Modifications
... also... vor eineiger Zeit war ich schon mal auf der Seite und ich finde für den Anfang ist das schon mal ne ganz gute Tuninganleitung... Super E ist gut, das Verdichtungsverhältnis ist mit 9,5 o.k. könntest aber noch mehr, welche Nockenwelle möchtest du einsetzen... Doppelzündung wär noch ne Möglichkeit um den Zündzeitpunkt zurück zu nehmen... gemacht habe ich das an ner Shovel noch nicht... ich habe mich mit einem anderen Motor lange auseinander gesetzt...schribi hat geschrieben:Hallo zusammen,
hat schon mal jemand die Shovelhead Modifications von der Nightrider Seite getestet?
Meine ganze Kiste ist momentan komplett zerlegt. Ich bin drauf und drann das ganze Paket was da beschrieben ist durch zu ziehen. Also Kolben, Zylinder, Köpfe. Nocke, Vergaser Zündung und Auspuff hab ich schon gemacht.
Aber jetzt geht es mit der Überarbeitung des Brennraums ans Eingemachte.
Da wären Erfahrungen über Haltbarkeit oder was das bringt hilfreich. Ich übertrage gerade die Maße in ein CADprogramm wenn da alle Toleranzen o.k. sind dann gehts zur Fräse...
Gruß Schribi
P.s.: Nach der Bearbeitung der Kolben haben die an der Oberseite nur noch 3mm Wandstärke an der dünnsten Stelle. Das macht mir am meisten Sorgen
Was wichtig ist, mal zu wissen was du denn bis jetzt genau an deinem Motor gemacht hast???
wo an der Oberseite der Kolben sind 3 mm beschreib mal nach Bild im Nightrider... (z.b. Kolben auf 11 Uhr)
Grüsse Rüdi
Re: Shovelhead Modifications
BRENNRAUM_ORIGINAL_Schnitt_B-001.jpg (90 KB)
BRENNRAUM_ORIGINAL-001.jpg (179 KB)
BRENNRAUM_BEARBEITET.jpg (350 KB)
BRENNRAUM_BEARBEITET_Schnitt_B-001.jpg (88 KB)Jetzt hab ich mal alle Daten ins Cad Programm grklopft. Da sieht man das sich das alles ausgehen müßte. An der Stelle wo der Dom vom Kolben abgedreht wird wirds ganz schön dünn. Aber bei den Taschen für die Ventile ist es genau so dünn also...
Nur ob dann die Verdichtung wirklich 1:9.5 ist??
Also ich hab momentan die Andrews J Grind drinn. Empfohlen wird ja die V Thunder SHV-4020. Die ist zwar sicher etwas schärfer aber die Welt ist da auch nicht um. Ich wollte die Andrews drinnen lassen obwohl die Köpfe und Federn schon gemacht währen.
Sonst hab ich noch den getunten CV Vergaser drauf.
Die Altmann Zündung mit 2 Ohm Spule (Vorzündung ist moderat mit 34.4° bei 2500 u/min)
Auspuff ist 2 in 2 nicht ganz offen.
Köpfe sind die S&S mit den Läpchen im Ansaugkanal drin. Keine Ahnung ob die irgendwas bringen.
Re: Shovelhead Modifications
... irgendwie steh ich jetzt auf der Leitung... warum möchtest du denn die Kolben abdrehen?
Re: Shovelhead Modifications
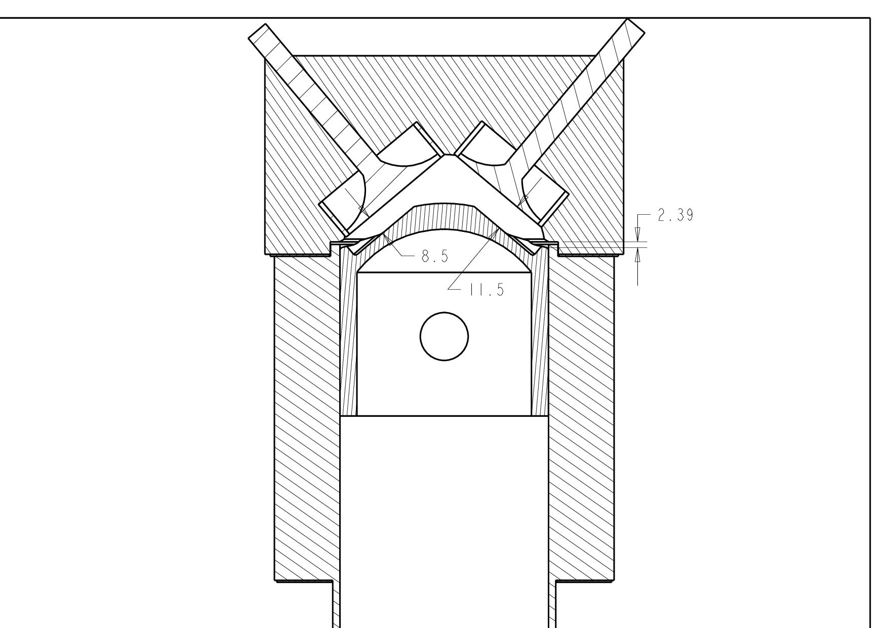
naja so steht es in der Anleitung. Der Zylinder wird um 2mm gekürzt. Beim Kopf wird die Dichtfläche mit der Senkung und die 30° Fase ca. 1mm nachgesetzt.
Das heißt die Ventile kommen eigentlich ca. 3mm näher zum Kurbelwellengehäuse.
Der Kolben wird wahrscheinlich abgedreht weil sonst die Verdichtung zu hoch ist. Oder die Ventile sonst streifen...
Das heißt die Ventile kommen eigentlich ca. 3mm näher zum Kurbelwellengehäuse.
Der Kolben wird wahrscheinlich abgedreht weil sonst die Verdichtung zu hoch ist. Oder die Ventile sonst streifen...
- rainer_aus_ulm
- Beiträge: 2373
- Registriert: 04.02.2007, 09:01
Re: Shovelhead Modifications
Hi,
prinzipiell geht es darum jedes Hindernis aus den Weg zu räumen was der
Komprimierung des Gemisch ... im Weg ist (saublöder Satz aber mir fällt nix anners ein).
Das Gemisch soll möglichst im Zentrum konzentriert werden um Klopfen zu verhindern.
Spannende Sache dein Projekt !!!
Nicht dieser übliche BigBore/Stroker-Scheiß ... Sorry an Alle. Ist aber meine Meinung
rainer
prinzipiell geht es darum jedes Hindernis aus den Weg zu räumen was der
Komprimierung des Gemisch ... im Weg ist (saublöder Satz aber mir fällt nix anners ein).
Das Gemisch soll möglichst im Zentrum konzentriert werden um Klopfen zu verhindern.
Spannende Sache dein Projekt !!!
Nicht dieser übliche BigBore/Stroker-Scheiß ... Sorry an Alle. Ist aber meine Meinung
rainer
Absoluter Premium-Babbelkopp. Schwafelweltmeister.
Alter Furz der gerne und oft den Faden verliert.
Alter Furz der gerne und oft den Faden verliert.
Re: Shovelhead Modifications
... bitte mach mal ne Liste von jedem Teil was du am Motor gemacht hast bzw. was Serie ist...
z.b. Kurbelwelle 4,250" Serie oder erleichtert
oder Bohrung Hub
welche Kolben usw...
für welche Verdichtung bzw. die Pinhöhe...
sonst bekommt hier keiner, eine genaue Vorstellung von der Tuningmaßnahme...
sind die Zylinder schon gekürzt?
wie weit ist der Motor zusammengebaut...
bei den Köpfen solltest du die Federn nur der Nockenwelle anpassen... lieber weichere Federn die gerade so die kp bringen und nicht auf Block gehen...
harte Federn kosten Leistung...
... also bitte eine ganz genaue Liste... sonst können wir dir nicht helfen...
...mit dem Verdichtungsverhältnis... das machen wir auch noch...
Rüdi
z.b. Kurbelwelle 4,250" Serie oder erleichtert
oder Bohrung Hub
welche Kolben usw...
für welche Verdichtung bzw. die Pinhöhe...
sonst bekommt hier keiner, eine genaue Vorstellung von der Tuningmaßnahme...
sind die Zylinder schon gekürzt?
wie weit ist der Motor zusammengebaut...
bei den Köpfen solltest du die Federn nur der Nockenwelle anpassen... lieber weichere Federn die gerade so die kp bringen und nicht auf Block gehen...
harte Federn kosten Leistung...
... also bitte eine ganz genaue Liste... sonst können wir dir nicht helfen...
...mit dem Verdichtungsverhältnis... das machen wir auch noch...
Rüdi
Re: Shovelhead Modifications
Moin schribi,schribi hat geschrieben:
Nur ob dann die Verdichtung wirklich 1:9.5 ist??
eigentlich hast du doch die besten Voraussetzungen, das Verdicht. verh. wirklich exakt zu bestimmen, indem du am CAD das Volumen des Kolbendoms ermittelst und vom Volumen der Mulde im Zylinderkopf abziehst. Das Volumen des Brennraums kannst du auslitern, indem du den Kopf z. B. auf eine Plexiglasplatte schraubst und durch die Kerzenöffnung das Volumen ausliterst. Guckst du hier:
http://www.google.de/imgres?imgurl=http ... wAA&dur=77
Ich hab diese Tage mit mäßigem Erfolg versucht, die verdichtung zweier Kolben miteinander zu vergleichen. Habe beide Koblen kopfüber in ein randvolles Gefäß mit Wasser eingetaucht, und zwar immer bis zu einer bestimmten Tiefe (seitlich herausragende Kolbenbolzen bis auf definierten Anschlag abgesenkt). Über die Menge an Wasser, die dabei aus dem Gefäß verdrängt und in einer Schüssel aufgefangen wurde, habe ich den Volumenunterschied der beiden Kolbendome berechnet. War aber sehr ungenau wegen der Oberflächenspannung des Wassers, das trotz Spüli nicht gleich überläuft, wenn der pegel steigt.
Lange Rede kurzer Sinn, mit CAD geht´s wirklich präzise.
Mach weiter, sehr interessant.
Gruß
Hoschi
Re: Shovelhead Modifications
wenn der Zylinder montiert ist, wieviel mm hat der Kolben bis Oberkante Laufbuchse?schribi hat geschrieben:naja so steht es in der Anleitung. Der Zylinder wird um 2mm gekürzt. Beim Kopf wird die Dichtfläche mit der Senkung und die 30° Fase ca. 1mm nachgesetzt.
Das heißt die Ventile kommen eigentlich ca. 3mm näher zum Kurbelwellengehäuse.
Der Kolben wird wahrscheinlich abgedreht weil sonst die Verdichtung zu hoch ist. Oder die Ventile sonst streifen...
bei meinem sind bis Ok. 2mm ... habs augelitert Bohrung ist 92,3 und Verdichtungsverh. 7,3 : 1
wenn ich die 2mm rechnerisch abziehe komme ich auf 8,5
ausgelietert habe ich so:
Zylinder demontiert und Kolben mit Ringen in den Zylinder eingebaut wie OT
dann Kopf mit Dichtung montiert, Zylinder schräg gelegt, so das die Kerzenbohrung der höchste Punkt ist... jetzt Öl mit einer Spritze 50 ccm in den Brennraum bis zur Kerzenbohrung
Ergebnis = Brennraumvolumen
jetzt den Kolben im Zylinder, um die Länge Hub, nach unten ziehen und weiter mit der Spritze...
immer schön ne Strichliste machen damit du dich nicht verzählst... ganz Wichtig!!!
das Volumen vom Brennraum und Volumen Hubraum addieren und dann durch Volumen Brennraum teilen...
ich würde sagen das sollte der Erste Schritt, bei deinem Projekt, sein...
die Liste später...
(den Kolben solltenst du nicht abdrehen, sonst gewinnst du nix)
Grüsse Rüdi
- holzlenker
- Beiträge: 4102
- Registriert: 31.01.2007, 08:53
- Wohnort: 93057 Regensburg
Re: Shovelhead Modifications
SHOVEL55 hat geschrieben:schribi hat geschrieben:...Zylinder demontiert und Kolben mit Ringen in den Zylinder eingebaut wie OT
Grüsse Rüdi
Servus Rüdi,
nur interessehalber: wie legst Du OT im zerlegten Zustand fest und fixierst diesen?
Warum den ganzen "Hubraum" mit Öl per Spritze füllen wenn man ihn in 30sec. (FlächexHub) berechnen kann?
Ciao Lutz
(der gerade nicht klugscheißen wollte!)
Beim Beschleunigen müssen die Tränen der Ergriffenheit waagerecht zum Ohr hin abfließen. (Walter Röhrl)
Re: Shovelhead Modifications
danke lutz, hatte die gleichen gedanken 
gruss
cactus
Ich trage solange schwarz bis ich eine dunklere Farbe gefunden habe
cactus
Ich trage solange schwarz bis ich eine dunklere Farbe gefunden habe
Re: Shovelhead Modifications
holzlenker hat geschrieben:SHOVEL55 hat geschrieben:schribi hat geschrieben:...Zylinder demontiert und Kolben mit Ringen in den Zylinder eingebaut wie OT
Grüsse Rüdi
Servus Rüdi,
nur interessehalber: wie legst Du OT im zerlegten Zustand fest und fixierst diesen?
Warum den ganzen "Hubraum" mit Öl per Spritze füllen wenn man ihn in 30sec. (FlächexHub) berechnen kann?
Ciao Lutz
(der gerade nicht klugscheißen wollte!)
Hi Lutz,
zuerst, danke das du mit denkst und fragst...
wenn ich sowas plane, zerlege ich den Motor... bau den Kopf ab, stelle OT ein und messe oder mach nen Strich mim Edding...
bei neuen Teilen taste ich mich langsam ran... Kurbelwelle ins Gehäuse, Kolben rein Dichtung dazwischen und Zylinder drauf... messen... oder Edding... Zylinder runter...
... gerade oben der Brennraum ist wichtig bei der Leistungsausbeute...
der Kolben kommt mit Ringen in den Zylinder, das hält... wenn nicht sind die Teile warscheinlich sowieso nicht mehr zu gebrauchen... das Öl drückt den Kolben nicht nach unten... oder Tape aufs Kolbenhemd und Zylinderwand...
zur Hubraumberechnung... weil das Auslitern genauer ist... z.B. der Ringspalt zwischen Kolben und Laufbahn oberhalb der Ringe... ich ein sichers Ergebnis wollte, keine Zylinderkopfdichtung berücksichtigen muß, sowas einfach ausgelitert gehört...
und wenn man schon mal dabei ist und das noch nie gemacht hat und keinen kennt der es mal gemacht hat und immer alle vom Auslitern sprechen und du nicht gerade neben mir standst... und ich im rechnen nicht soo guut binwenns kalt ist...
Hydrauliköl hab ich genommen... fließt besser
Grüsse Rüdi